Agri Clôture utilise des cookies pour améliorer ses services, proposer des offres personnalisées et améliorer votre expérience utilisateur. Ces cookies sont destinés notamment à collecter des statistiques en vue d'optimiser les fonctionnalités du site, mesurer son audience et adapter le contenu à vos préférences. Vous pouvez à tout moment les refuser en modifiant vos paramètres. Lire la politique de confidentialité
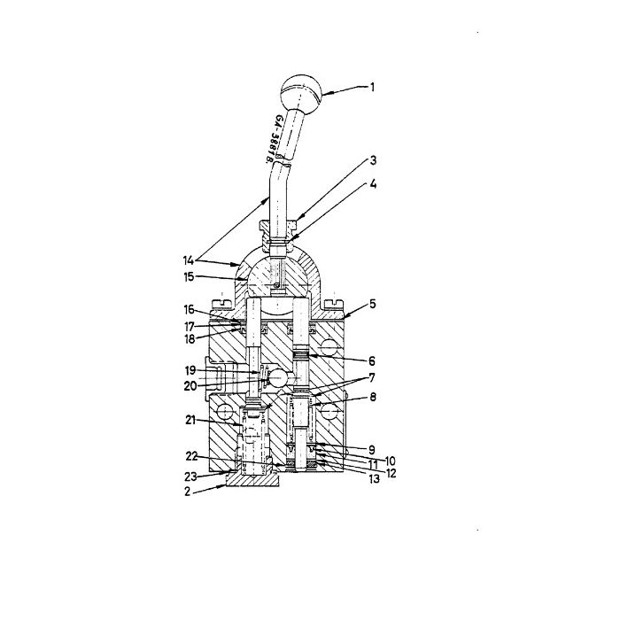
Joint de distributeur hydraulique type BOSCH SB1 tracteur Case IH 323, 433, 523, 533, 553, 554, 633, 644, 654, 724, 733, 743, 744, 824, 833, 840, 844, 844S, 940 série BD, Fendt Farmer
En stock
Livraison 24h
Joint torique N°6
Joint torique de distributeur hydraulique type BOSCH SB1 tracteur Case IH 323, 433, 523, 533, 553, 554, 633, 644, 654, 724, 733, 743, 744, 824, 833, 840, 844, 844S, 940, D 320, 322, 324, 326, 430, 432, 436, 439, 440, Fendt Farmer 250S, 260S, 260V, 270V, 280P, 280V
À NE PAS RATER
Notre sélection de produits
Il est possible de naviguer entre les éléments du carrousel à l'aide de la touche de tabulation. Vous pouvez sauter le carrousel ou passer directement à la navigation dans le carrousel à l'aide des liens de saut.
Cliquer pour passer le carrousel
Il est possible de naviguer entre les éléments du carrousel à l'aide de la touche de tabulation. Vous pouvez sauter le carrousel ou passer directement à la navigation dans le carrousel à l'aide des liens de saut.
Cliquer pour passer le carrousel
Get a Quote for
Êtes-vous sûr(e) de vouloir retirer cet article du panier ?
This item is a part of the approved quote. Removing it will remove all quote items from the cart.